



小米无人机app是一款可以控制小米无人机的软件,通过小米无人机控制app你可以操控小米无人机来摄影、拍照、飞行等等,相比于传统的遥控器控制,小米无人机app更加显得智能化!
这个月底,大家就能看到小米的无人飞机。
其实小米要做无人机早已不是什么秘密了,之前的消息已经显示,小米的无人飞机并不由小米直接设计生产,而是投资外部公司代工,最后由小米负责营销售卖,这个外部公司就是广州飞米,其法人代表蔡炜还在北京注册了两家同名公司,北京飞米科技有限公司和北京飞米电子科技有限公司。前者为5月13日注册成立,注册资金为500万美元。南华早报称,该公司由注册在英属维尔京群岛的境外公司控制。
据悉,小米准备的无人机不会进入高端市场,定价千元左右,依然通过高性价比来征服玩家,其机采用四轴设计,带有摄像功能,可以根据手环轨迹做出相应飞行动作,十分酷炫。
小米真的在2015年5月就提交了无人机外观的专利审核。从专利的设计图上看,与曝光的小米无人机概念图一致。

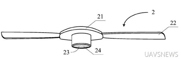
但是这款无人机的造型与飞会儿君后台见到的是有些差异的,但当有人看到小米无人机试飞后,这两天上中国专利公布网查询,小米恰恰在公布了两个外观专利,分别是无人机主体和云台。小米无人机改用这个设计之后,外形设计有所提升,风格更加明显,看上去更有骨感。接下来我们先说一说无人机主体。


一见到效果图是不是跟我一样“哇”的一声?可收放脚架!这可是S900系列这样的高端机才有的配置啊!小米再显价格屠夫本色?别开心太早!看下图:


看结构23,原来是要手动拨动才能收放的,所以这个设计只是为了收纳方便,拆下云台后无人机比较便携。
这个设计与零度探索者1是如出一辙,收起来就是收纳模式,放下来就是工作模式。


探索者1的这种脚架设计,如果装上云台后,则始终要处于放下状态,在空中飞行时手动去调整脚架是非常危险的行为!
但是,这一次实际飞行的小米无人机,天线设计采用的是类似大疆的方案,双扁平的鞭状天线。而遥控器与手机的连接方式也是与大疆一样,采用数据线连接而非wifi连接!

精灵3的遥控器,小米无人机的天线和连接方式是和它一样的。

与疆域大黄蜂的遥控器外观设计最为接近。
这一块的推倒重做,比较大的可能性是考虑到原来天线的效果不佳,但有可能是图传进行了升级,将会支持高清图传。从描述上可以看出小米无人机的变焦功能其实就是类似手机那样的数码变焦,必然会损失画质 。具备变焦功能的消费级无人机,还需要再等等。
跟随功能

现在跟随功能这么火,小米能不加上吗?和小米手环的互动将会成为比较重要的一个生态链,如果后续发布的手环上有GPS接收芯片,那么就可以实现跟拍功能了。
有图有真相

这就是收到的疑似小米无人机飞行的图片,虽然模糊化了,但是也可以看出一些大致的特征。
此前,小米社区的无人机板块、小米请求的有些无人机专利等都在网上曝光,其间多有涉及手环、手机联动这么的操作概念。

从实际飞行和专利分析,我们可以确定小米无人机的以下几个要素:
云台:一体化球形云台可拆卸,90%概率支持4k拍摄,95%概率支持手持云台;可更换支持自家小蚁相机的云台。
机身:近350轴距,可安装保护框,设计风格接近小米其他产品,脚架手动缩放方便携带。实际试飞机身材料较粗糙,一种可能性是工程样机,另一种可能性就是将会尽可能的降低成本,低价销售。
遥控器:与手机连接采用USB线,采用双天线接收数据,70%概率支持高清图传。
从小米的一向做法来看,肯定是价格屠夫,会直接以性价比切入市场,凭借着巨大的品牌知名度,大量的粉丝群体,如果再定一个类似1XXX这样杀伤性的价格,相信消费级无人机真正的大战和洗牌就要提前来临了
1、兼容Android9.0系统
下载
小米无人机软件
83.4M /
小编简评:小米无人机
下载
小米无人机4k版手机控制app
29.2M /
小编简评:小米无人机
下载
凝瑞远程控制
2.5M /
小编简评: &nbs
下载
NetOp Remote Control(远程控制)9.0 简体中文企业版
20.3M /
小编简评:NetOpRemot
小米智能家居软件
小米智能家居的各种各样的智能设备可以说是覆盖了你的生活方方面面了,很多的人都是买了各种小米智能设备但
下载
小米万能遥控器app
38.6M /
小编简评:小米万能遥控器是小米旗下推出的一款万能遥控设备,今天小编带来的就是控制这款设备的app。用了这款app,不仅可以控制家里的各种智能家居,而且超方便哦!有需要的用户快来下载吧!
下载
九号出行平衡车app
131.4M /
小编简评:小米九号平衡车高性能、先进的控制算法、众多传感器和高性能处理器,使它既灵活又容易驾驶,轻松应对常见路况,长达22km[1] 的行驶距离可以让你玩个痛快。
下载
小米床头灯app(Yeelight床头灯手机客户端)
38.8M /
小编简评:小米床头灯app(Yeelight床头灯手机客户端)是一款能和小米手环联动的软件,联动后床头灯会根据你的实际睡眠情况判断关灯,并且可以用手机改变灯光的颜色。
下载
小米花花草草检测仪app
11.8M /
小编简评:养花以及养草在很多的时候也是需要精心细心的去呵护的,你没有完整的数据以及一些时间来提醒你自己的话,是不可以能养的好的,现在就可以试试小米花花草草检测仪app!
下载
小米无人机控制app
29.2M /
小编简评:小米无人机控制app是一款可以控制小米无人机的软件,通过小米无人机控制app你可以操控小米无人机来摄影、拍照、飞行等等,相比于传统的遥控器控制,小米无人机app更加显得智能化!
下载
小米遥控器app苹果版
16.1M /
小编简评:小米遥控器app是一款可以在手机上任意操控家居的软件。家里遥控器不见了?又或者坏掉了?没关系,用手机下载这款app,就能让你的手机也变成遥控器哦!有需要的快来下载吧!
无人机app大全
无人机app系列软件页面,为大家提供和整理了各种无人机软件,市面上的各种无人机,都可以通过该页面的软件控制哦,体验好内容丰富,如果你也想用无人机,但是不知道要用什么操控软件可以下载本站的对应软件哦。无人机
下载
大疆模拟器(DJI Fly)
429.6M /
小编简评:大疆模拟器
下载
dji fly官方下载
429.6M /
小编简评:全新航拍界
下载
大疆DJI GO 4下载
260.8M /
小编简评:适配晓、御
下载
liftoff模拟无人机
1.87G /
小编简评:liftoff模拟
下载
Nimbatus The Space Drone Constructor
74.4M /
小编简评:NimbatusTh
下载
无人机战争(Drone:Remote Tactical Warfare)
798.6M /
小编简评:无人机战争
赚点集思吧平台
34.5M
4.7.0 官方版
应用商店(小米自带)app
33.1M
5.4.3 官方版
nubia应用中心最新版
15.9M
4.3.0.062814 官方手机版
双开助手微分身版
17.6M
10.2.6.0 官方正式版
互传vivo一键换机app
39.2M
6.5.2.19 官方最新版
华为应用市场2025最新版
51.2M
14.0.1.300 官方版
q绑查询手机号免费网站
4.2M
2.0 免费版
葫芦侠最新版本
34.8M
v4.3.1.8 安卓版
华为应用市场2025最新版
51.2M
14.0.1.300 官方版
冷眸软件库新版
1.3M
10.0 最新版
p搜官网下载
6.7M
8.1 安卓版
joiplay三件套汉化版
23.5M
1.20.023 官方版
网友评论