相关资讯
本类常用软件
-
福建农村信用社手机银行客户端下载下载量:584204
-
Windows优化大师下载量:416895
-
90美女秀(视频聊天软件)下载量:366961
-
广西农村信用社手机银行客户端下载下载量:365699
-
快播手机版下载量:325855
当3D概念如火如荼的时候,让我们一起来看看各大视频手机生产商的最新进展吧!
3D显示成为目前手机显示技术发展的一个前沿趋势,LG、HTC、夏普等制造商已经推出了采用裸眼3D屏幕的智能手机。不过,从最新一份来自诺基亚申请的专利来看,未来3D在手机中绝不是看看立体效果这么简单。

诺基亚最新申请的关于3D的专利
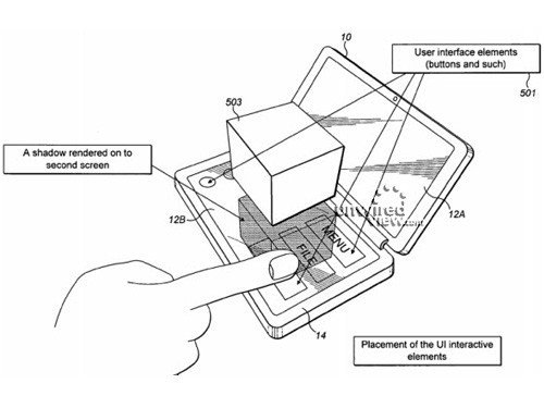
据国外媒体报道,诺基亚最新申请了一项名为Autostereoscopic rendering and display apparatus(自动立体渲染和显示设备)的专利。根据专利的描述,这将是一款翻盖设计、拥有两个显示屏的设备,其中一个显示屏是3D的,另一个是 2D的。这一设备有一个前置摄像头,用来追踪用户的眼球运动,从而自动调节3D影像的角度和清晰度。这一点比起目前的裸眼3D手机已经是一个改进,现有的产品需要用户保持一定的角度和距离观看,否则将难以获得清晰的3D效果,并且出现头晕的症状。

诺基亚最新申请的3D相关专利
但这并不是这一专利的唯一优势,根据描述,这一设备甚至能让下方的2D屏幕显示3D影像的阴影,从而让效果更加逼真。而且,摄像头还可以计算出用户的手指与3D影像之间的位置关系,用户甚至能用手指去操控虚拟的对象!
这个专利听起来实在太酷了,由于这款设备造型类似诺基亚Communicator系列产品,国外媒体猜测未来诺基亚很可能真的推出这样的产品(或许会命名为Communicator 3D)。不过,专利申请距离最终产品问世还有很大差距,我们或许要在几年之后才能看到结果。

DNF每日签到送豪
lol7月神秘商店
LOL黑市乱斗怎么
LOL英雄成就标志
骑自行车的正确
在校大学生该如
微信朋友圈怎么